نسل دوم اپل پنسل به قابلیت اتصال آهنربایی مجهز میشود؟
تبلیغات

اخیرا شایعاتی منتشر شده مبنی بر این که اپل در حال کار بر روی نسل دوم اپل پنسل است که مانند آهنربا به آیپد میچسبد.
بر اساس اطلاعاتی که از تامینکنندگان چینی منتشر شده است، اپل برنامه دارد در کنفرانس خبری بهاری خود از اپل پنسل 2 رونمایی کند. در این کنفرانس انتظار میرود آیپدهای جدید نیز معرفی شوند. نسل دوم قلم دیجیتال اپل احتمالا به یک گیره نیز مجهز است که میتوانید به راحتی آن را به جیب لباستان وصل کنید.
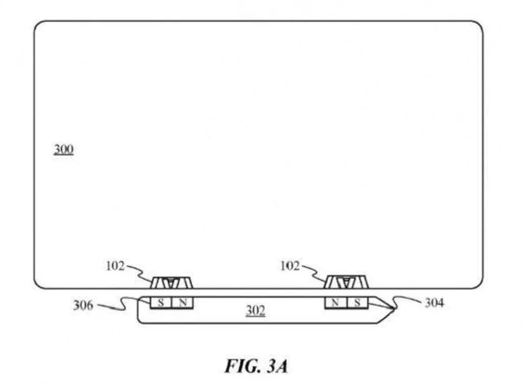
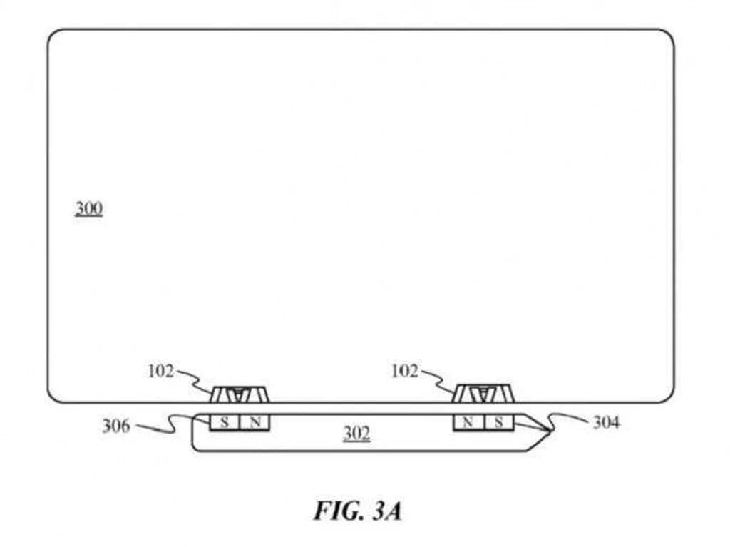
اپل هنگامی که نسل اول اپل پنسل را سال 2015 معرفی کرد با انتقاداتی روبرو شد. یکی از انتقادات آن بود که آیپد پروهای اپل هیچ محلی برای نگهداری اپل پنسل در داخل خود نداشتند و امکان گم شدن این قلمهای باارزش زیاد بود. با توجه به پتنتی که اپل سپتامبر گذشته ثبت کرده است، به نظر میرسد که این شرکت اپل پنسل 2 را با قابلیت اتصال آهنربایی در دست ساخت دارد. یکی از تصاویری را که در این پتنت ثبت شده است در ادامه مشاهده میکنید.
گفته میشود اپل امسال در کنفرانس بهاری خود از 3 آیپد جدید قدرتمند در اندازههای 10 تا 10.5 اینچی رونمایی میکند که لبههای بسیار باریکی دارند.

برچسبها:



