نسخه بعدی قلم گلکسی نوت احتمالا به دوربین مجهز میشود
تبلیغات

اطلاعات جدیدی که از اداره پتنت آمریکا (USPTO) به دست آمده طرح نسبتا عجیبی را از پرچمدار بعدی گلکسی نوت به تصویر میکشد. این طور که پیداست سامسونگ به دنبال روشی برای حذف کامل ناچ و حفره دوربین است، اما همچنان میخواهد راهی برای سلفی گرفتن در اختیار کاربران بگذارد.
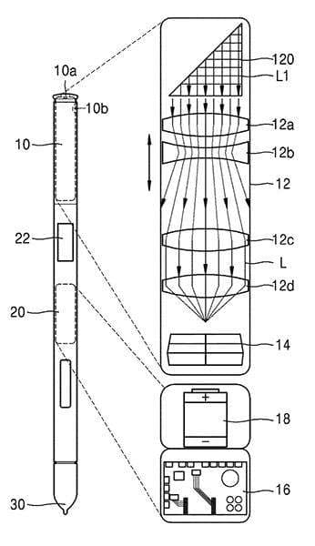
این شماتیک پتنتی را نشان میدهد که حاکی از تغییرات عظیمی نه در خود دستگاه بلکه در قلم آن است. اگر بخواهیم به طور خلاصه بگوییم، در این پتنت شاهد روشی برای جایگذاری دوربینی متشکل از حداقل یک لنز و یک سنسور تصویر در داخل S Pen هستیم.
این دوربین قرار است توسط یک دکمه خارجی کنترل شود. دکمه دیگری که در قسمت پایینی بدنه قلم قرار میگیرد به کاربران اجازه میدهد زوم تصویر را مشخص کنند. پتنت مذکور که توسط وبسایت PatentlyMobile رویت شده ظاهرا قرار است برای یکی از نسخههای بعدی گلکسی نوت عرضه شود، اما هنوز مشخص نیست که کدام نسخه به این قابلیت مجهز خواهد شد.
اگرچه افزودن دوربین به قلم این تلفن هوشمند پیشرفت و قابلیت بسیار خوبی خواهد بود، اما سخت میتوانیم بپذیریم که سامسونگ بهکلی از قرار دادن دوربین سلفی در پرچمدار بعدی سری نوت خود صرف نظر کند.
البته هنوز اصلا معلوم نیست که آیا دوربین S Pen قرار است جایگزین دوربین سلفی موبایل شود یا نه. ولی در حال حاضر، از تنها چیزی که اطمینان داریم این است که شاید به زودی کاربران بتوانند بدون نیاز به درآوردن گوشی از داخل جبیشان با قلم S Pen عکس بگیرند.

برچسبها: