آیا اپل بر روی اپل واچ دوربین تعبیه خواهد کرد؟
تبلیغات

اپل برنامههای بزرگی برای نصب دوربین روی اپل واچهای آینده دارد، اما قبل از هرچیزی، به خوبی میدانیم که این شرکت همیشه به دنبال کیفیتی ایدهال است، بنابراین زمانی این کار را خواهد کرد که اطمینان حاصل کند در درجه اول تعبیه دوربین روی ساعت، باعث نمیشود که روی دست احساس غیر راحت بودن پیش بیاید، و دوم اینکه کیفیت این دوربین پایین نخواهد بود.
محبوبیت اپل واچ اولترا نشان داده است که در صورتی که این دستگاه مزایای بیشتری را به ارمغان آورد، کاربران مشکلی با افزایش حجم و وزن آن نخواهند داشت. به عنوان مثال در مورد اپل واچ اولترا یکی از این مزایا را میتوان عمر باتری بیشتر نام برد.

اپل واچهای آينده نیز ممکن است حداقل کمی بزرگتر شوند، زیرا اپا به دنبال راههایی برای ترکیب دوربین با این پوشیدنی محبوب خود است. پیش از این، اپل حق ثبت اختراعی برای گنجاندن دوربین در دکمه تاجی شکل دیجیتال اپل واچ دریافت کرده بود، اما استفاده از آن بسیار محدود است.
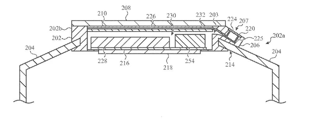
آخرین ثبت اختراع اپل در این خصوص، یک درخواست ثبت جدید است که اپل در آن اظهار کرده که یک ساعت میتواند دوربین را در یک برآمدگی کوچک به سمت بالای شاسی خود، در بالای صفحه نمایش داشته باشد. در این پتنت طوری توضیح داده شده که گویی ساعت با بند به صورت یکپارچه است، اما بعید است که این شرکت مایل به عرضه یک بند کامل یا هرچیزی باشد که اپل واچ را دست و پاگیر کند، حتی اگر با این کار، اجزای الکترونیکی به مانند دوربین، عملکرد مطلوبی داشته باشند.
در این سند ثبت اختراع آمده که ادغام چنین اجزایی ممکن است منجر به یک دستگاه حجیم شود که ممکن است عملکرد کاربر را مختل کند؛ ممکن است پوشیدن آن ناراحت کننده باشد یا برای انجام عملکردهای خاص نامناسب باشد (به طور مثال استفاده از دوربینی که در یک دستگاه الکترونیکی پوشیدنی قرار گرفته است، به دلیل موقعیت غیرمتعارف دستگاه ممکن است هنگام گرفتن ورودی نوری، مختل شود).
اپل همچنین از سازش برای قرار دادن دوربین در یک بند ساعت چشم پوشی میکند، در ادامه این سند آمده که «اجزای با کیفیت پایین ممکن است انتظارات کیفیت کاربر را برآورده نکنند». برای مثال ممکن است اندازه یک دوربین برای تعبیه در اپل واچ مناسب باشد، اما کیفیت پایینی داشته باشد و تصاویر بیکیفیت ارایه دهد.
اینطور که پیداست قضیه فقط این نیست که اپل به دنبال این باشد تا عکسهای شما زیبا به نظر برسد، بلکه این شرکت به طور خاص به دنبال یک دوربین فیلمبرداری تا 4K و ۶۰ فریم بر ثانیه یا یک دوربین عکاسی تا ۱۲ مگاپیکسل است.

برآمدگی دوربین در سمت راست تصویر کاملا مشخص است
اپل ادامه میدهد که مجموعه دوربین دیجیتال ممکن است برای اهداف مختلفی از جمله شناسایی چهره، حسگر اثر انگشت، اسکن یک کد QR، ویدیو کنفرانس، نظارت بیومتریک مانند ضربان قلب، عکاسی یا فیلمبرداری و یا ترکیبی از آنها استفاده شود. بنابراین با یک دوربین در اپل واچ خود میتوانید تمام دستگاههای اپل خود را از طریق فیس آیدی باز کنید.
این ساعت همچنین میتواند از دوربین خود برای گرفتن تصویر حرکات بدن کاربر یا اشیا دیگر در طول فعالیتهای خاص استفاده کند. با استفاده از کیلومتر شمار اینرسی (VIO) دوربین را میتوان برای به دست آوردن درجه بالایی از دقت حسگر حرکت استفاده کرد، که ممکن است برای نظارت، تشخیص و یا پیش بینی حرکت یا ژست حرکتی کاربر بر اساس ویژگیهای خاص مورد استفاده قرار گیرد.
اگر نگاهی به تمامی این ویژگیها بیاندازیم، خواهیم دید که اینها تعداد زیادی از قابلیتها هستند که قرار است دوربین اپل واچ انجام دهد و شاید به همین دلیل است که اپل نمیتواند یک دوربین تمام و کمال را در زیر صفحه نمایش اپل واچ قرار دهد، وگرنه اگر چنین چیزی ممکن بود، چه جایی بهتر از آنجا و حالا مشخص است که چرا اپل در این پتنت جای دوربین را بر روی یک برآمدگی تعریف کرده است.
اپل میگوید مجموعه «یک» دوربین دیجیتال ممکن است به گونهای در دستگاه الکترونیکی پوشیدنی ادغام شود تا تاثیر این مجموعه بر سایر اجزای الکترونیکی و شکل دستگاه پوشیدنی را به حداقل برساند. به عنوان مثال این دوربین دیجیتال ممکن است در درون یک حفره داخلی بر روی یک برآمدگی در بند ساعت قرار گرفته شود؛ یعنی مجموعه دوربین دیجیتال بر یک شکاف روی بند و دور از اجزایی مانند نمایشگر، باتری، مجموعه مدار یا حسگرهای این دستگاه پوشیدنی قرار گیرد.
در هر صورت باید در نظر گرفت که ثبت یک اختراع به معنی عرضه قطعی آن نیست، البته تعبیه دوربین روی اپل واچ امری کاملا محتمل است، اما ثبت این پتنت به معنی این نیست که این شرکت به طور قطع اگر بخواهد دوربین روی اپل واچ نصب کند، از این روش استفاده خواهد کرد، بلکه احتمال دارد در آینده روش یا جای نصب دوربین بر روی اپل واچ را تغییر دهد و چه بسا برای آن یک اختراع دیگر ثبت کند، اما بعید به نظر میرسد که به همین زودیها شاهد تحقق این امر در محبوبترین ساعت دنیا باشیم.





