پتنتی جدید در مورد آیفونی با نمایشگر تاشو به ثبت رسید
تبلیغات
با آمدن گلکسی فولد در سال 2019 و ادامه راه این محصول موفق با ارائه گوشیهایی همچون گلکسی زد فولد 2 و گلکسی فلیپ در سال جاری میلادی (2020)، شرکتهای دیگر نیز در این خصوص تحت فشار قرار گرفته و باید خود را با این سیستم و استاندارد جدید به وجود آمده وفق دهند. از سال 2017، شایعاتی پیرامون عرضه آیفونی با نمایشگر تاشو در رسانههای خبری به صورت مداوم مطرح میشود و حالا با ثبت پتنتی جدید در این زمینه، حرف و حدیثها پیرامون این محصول شدیدا افزایش پیدا کرده است.
آیس یونیورس، فرد مشهور در زمینه افشای اسرار و حقایق شرکتهای فعال در حوزه تکنولوژی، به تازگی در اظهارات خود به این موضوع اشاره کرده است که کمپانی اپل برای تأمین نمایشگرهای خمیده، به شرکت سامسونگ مراجعه کرده و درخواست کرده تا تولیدات یک سال این برند را به صورت تخصصی بر عهده بگیرد.

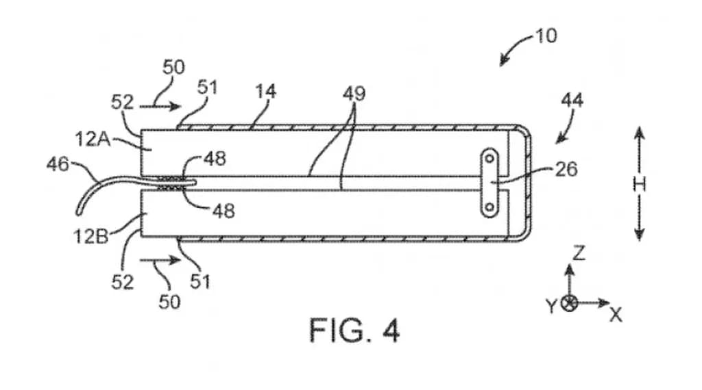
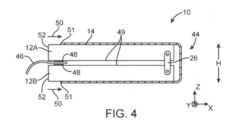
البته بد نیست بدانید که اپل در حال حاضر در شاخه توسعه این محصول به سر برده و هنوز طرح نهایی و زبان طراحی آن مشخص نشده است.در پتنتی که به تازگی به ثبت رسیده، شاهد ظاهر ابتدایی آیفون با نمایشگر تاشو هستیم. اگر به ماه ژوئن سال جاری میلادی باز گردیم، به خاطر میآوریم که آقای جان پراسر، یکی از تحلیل گران سرشناس در این مورد توییتی را ارسال کرده بود:
تصاویر منتشر شده کمی خنده دار به نظر میرسد، اما به نظر نمیرسد که دو تلفن هوشمند به یکدیگر متصل شده باشند.
در حالی که به نظر میرسد که آن ها دو پنل جداگانه باشند، اما زمانی که نمایشگر این محصول کشیده میشود، به نظر میرسد که با گجتی با نمایشگر ادامهدار روبرو هستیم.

چنین آیفونی به نظر میرسد که با یک لولا و دو نمایشگر جداگانه، مانند سرفیس دوئو همراه باشد. البته بسیاری از تحلیل گران در این زمینه با شک و شبهاتی روبرو هستند. از آن جا که سامسونگ موفق به تولید نمایشگری تاشو شده است، بعید به نظر میرسد که اهالی کوپرتینو در طراحی محصول خود از لولا استفاده کنند. ظاهرا اپل قصد ندارد تا محصولی را تولید کرده که در زمینه طراحی، زیر سایه رقبای خود قرار گیرد.

اپل در تاریخ پانزدهم سپتامبر مصادف با بیست و پنجم شهریور ماه رویدادی را به صورت آنلاین برگزار خواهد کرد که به نظر میرسد تنها به معرفی اپل واچ سری 6 و آیپد جدید ختم شود و اثری از آیفون 12 د راین رویداد نخواهد بود. اما باز هم باید منتظر بمانیم و ببینیم که اهالی کوپرتینو برای این اتفاق، چه مسائلی را در نظر دارند.



