آیا رویای آیفون تاشو به واقعیت تبدیل میشود؟
تبلیغات
دنیای فناوری روز به روز در حال پیشرفت است و از سال گذشته، شاهد به وجود آمدن گوشیهایی با نمایشگر منعطف یا تاشو هستیم. ظاهرا اهالی کوپرتینو نیز نسبت به این موضوع بیمیل نبوده و پتنتهای زیادی در مورد گوشی هوشمندی با نمایشگر منعطف را به ثبت رساندهاند.
به تازگی نیز پتنتهای جدیدی در این زمینه توسط اپل به ثبت رسیده و همین موضوع باعث شده تا حرف و حدیثهای پیرامون آیفون فولد یا آیفون فلیپ بالا بگیرد. بر اساس شواهد و قراین، ظاهرا باید انتظار معرفی آیفونی را داشته باشیم که طراحی آن، بیشتر به Surface Duo مایکروسافت شباهت دارد و به هیچ عنوان، شبیه به گلکسی فولد سامسونگ نخواهد بود.
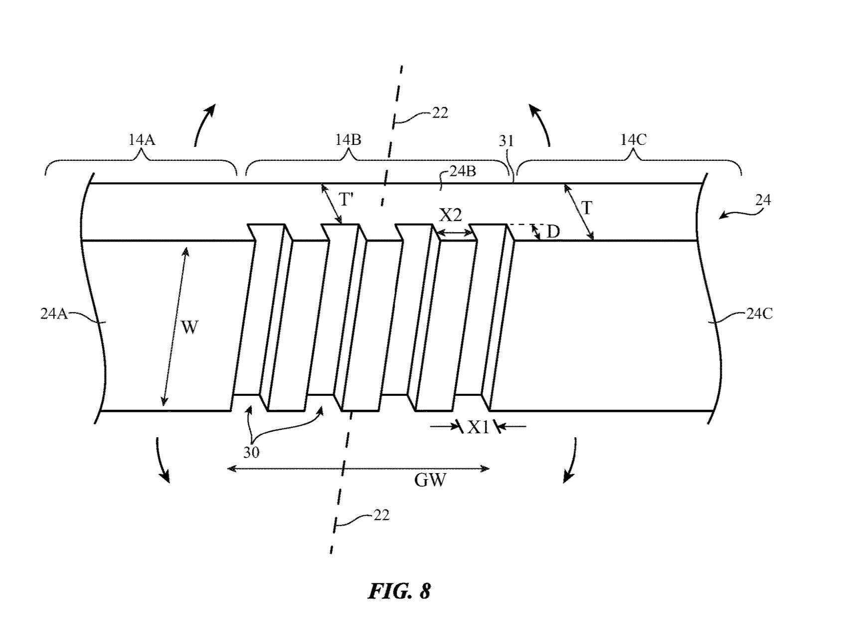
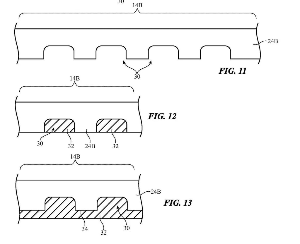
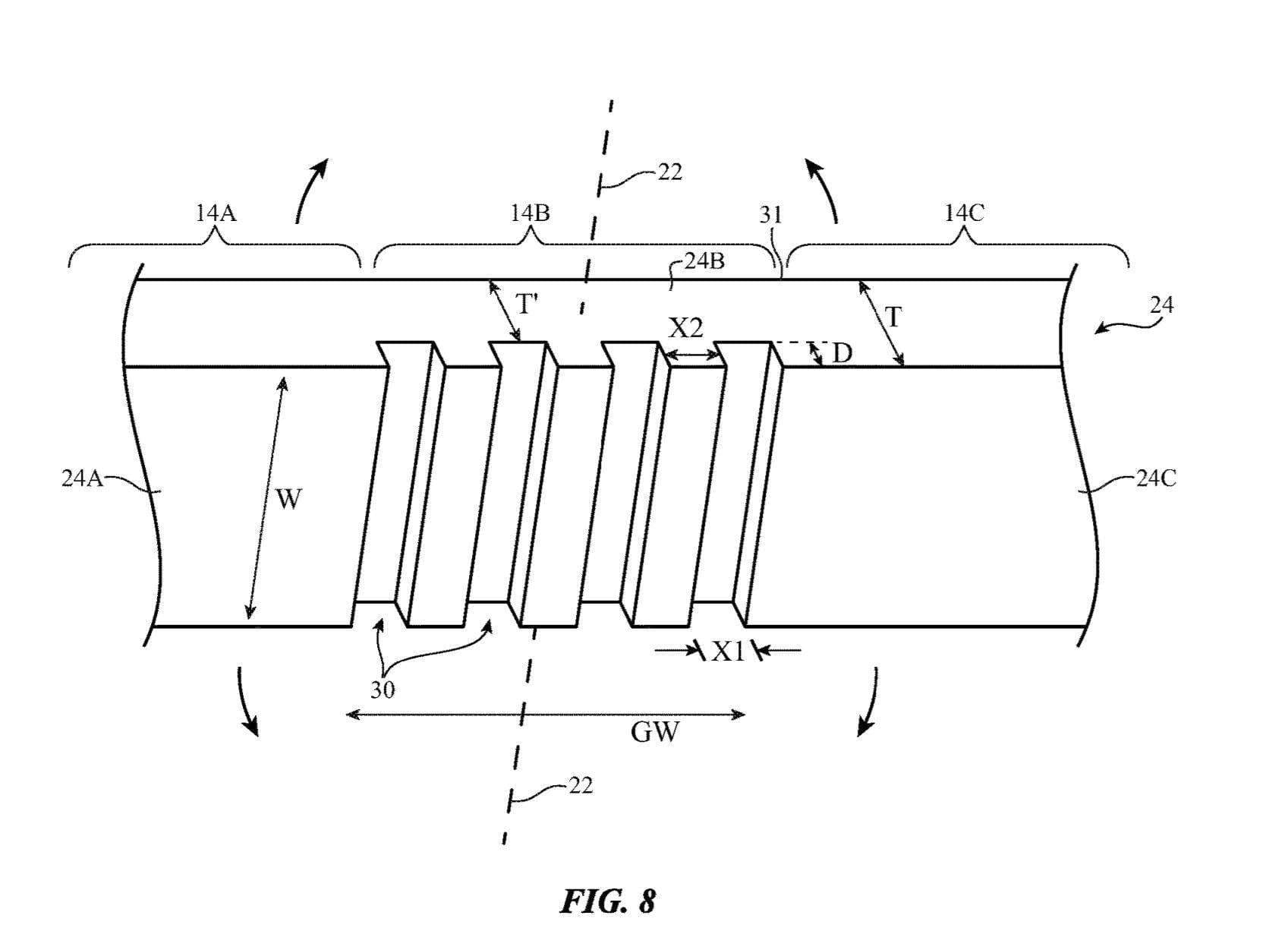
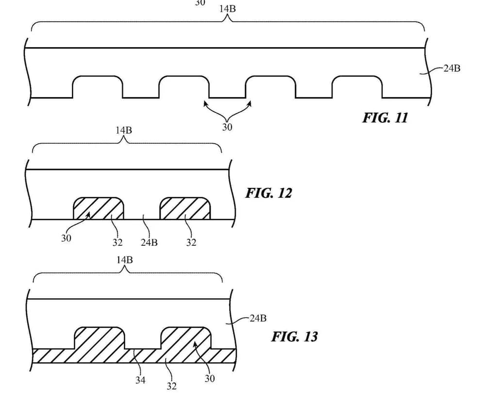
پتنتی که در ماه مارچ سال جاری میلادی (2020) ثبت شده و امروز در رسانههای خبری شاهد انتشار آن هستیم، نمایشگری با ضخامت زیاد را نشان میدهد که از قابلیت انعطاف و تاشوندگی برخوردار است.

اپل تصمیم دارد تا از تکنولوژی استفاده شده در صنعت چوب که با نام Kerfing از آن یاد میشود، بهره برده و شیشههایی را تولید نماید که در صورت خم شدن، به هیچ عنوان نشکسته یا ترک نخورند. بخشی از ساز و کار این ویژگی را در ویدئوی زیر میتوانید مشاهده کنید:
مهندسان اپل در نظر دارند تا شیارهای بدست آمده را با پلیمر الاستومری یا مایع با همان ضریب شکست شیشه پر کرده و بطور عملی شیارها را نامرئی کنند.

شیارها فقط در ناحیه قابل انعطاف شیشه قرار میگیرند و مابقی صفحه نمایش، روند طبیعی خود را خواهد داشت.
رویکرد اپل برای استفاده از مواد انعطاف پذیر واقعی ممکن است از نظر مکانیکی با هزینهای کمتر همراه باشد، اما از نظر طراحی و ساخت با پیچیدگیهای خاص و زیادی روبرو خواهد شد.

نظر شما در مورد آیفونی با نمایشگر تاشو چیست؟ آیا در صورت تولید وعرضه، از چنین گوشی هوشمند استقبال خواهید کرد؟
برچسبها:



