ثبت پتنتی از گوگل برای تشخیص راننده از سایر سرنشینان خودرو
تبلیغات
با ورود موبایلها به عرصههای مختلف زندگی حضور و ارتباط آنها با ماشینها نیز افزایش یافته است. مزیت وجود سیستمهایی همچون راهبری و سیستم خواندن پیام کوتاه از روی متن بهطور پیشفرض روی ماشین بر کسی پوشیده نیست، اما باید توجه داشت که این گجتها، که هنگام رانندگی همیشه همراه شما هستند، ممکن است پارهای اوقات بسیار خطرناک باشند.
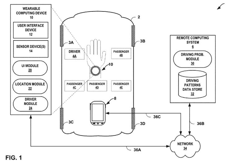
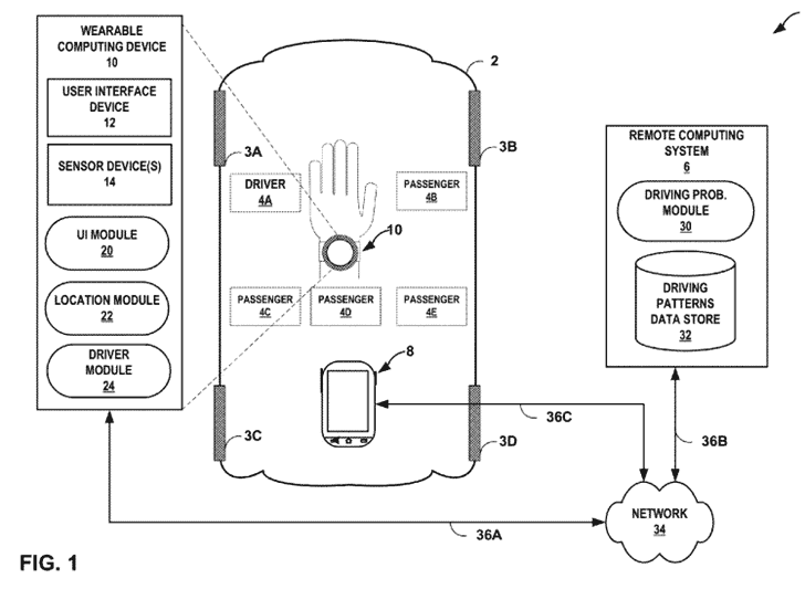
به همین دلیل گوگل به فکر رفع این مشکل افتاده است. گوگل بهتازگی پتنت جدیدی ثبت کرده که نشان میدهد این شرکت قصد دارد بفهمد کسی که از وسیلهای پوشیدنی استفاده میکند در حال رانندگی است یا فقط یکی از سایر سرنشینان خودروست. در این سیستم هم از موقعیت فرد استفاده میشود (آیا روی صندلی راننده نشسته است یا خیر) و هم از تشخیص حرکت برای اینکه مشخص شود فرد در حال رانندگی است یا خیر. این سیستم حرکتهایی از جمله چرخاندن فرمان و عوض کردن دنده را تشخیص میدهد و احتمالا از همان تکنولوژیهایی کمک میگیرد که به گوگل امکان میدهد پیادهروی، رانندگی یا دوچرخهسواری را تشخیص دهد.

هماکنون هم سیستمهایی برای تشخیص حرکت وجود دارند، اما این سیستمها تنها قادرند تشخیص دهند که شما درون یک وسیله نقلیه نشستهاید یا خیر و این تشخیص برای اینکه به شما بهعنوان سرنشین عادی خودرو اجازه استفاده از همه امکانات خودرو را بدهد کارآمد نیست.
عرضه چنین سیستمی ممکن است به افزایش ایمنی وسایل نقلیه کمک شایانی کند، اما دقت کنید که ثبت پتنت درباره عملی شدن آن و ارائه محصول در آینده هیچ تضمینی نمیدهد.
منبع: Android Police



