Apple Glasses هر سطحی را به نمایشگر لمسی تبدیل میکند
تبلیغات

طبق آخرین اخباری که بهدستآمدهاند، اپل در حال کار بر روی یک هدست واقعیت مجازی یا واقعیت افزوده است تا پایان سال جاری میلادی روانه بازار کند. قطع بهیقین زمان عرضه این محصول تغییر خواهد کرد اما تلاشهای اپل برای تولید محصولات واقعیت افزوده بر کسی پوشیده نیست. نمیتوان به قطعیت راجع به هدف ، کارایی و سودمندی هدست پوشیدنی نظری داد. حتی نمیدانیم که یک محصول مستقل است یا اپل درصدد است تا آن را بهعنوان یک اکسسوری وارد میدان کند. حال یک پتنت جدید از سوی اپل منتشرشده که از برنامههای این کمپانی کوپرتینویی برای تولید هدست و یا Apple Glasses پردهبرداری میکند.
پتنت جدید اپل،نحوه تعامل کاربر با Apple Glasses و همینطور کنترل آن را به نمایش میگذارد
در این پتنت شاهد هستیم که کاربران Apple Glasses ضمن نگاه کردن به محیطهای واقعیت ترکیبی یا واقعیت مجازی چگونه با آن کار خواهند کرد. کاربر آیفون یا آیپد میتواند بهسادگی بر روی جسم واقعیت افزوده ضربه بزند و با آن وارد تعامل شود اما هنگامیکه Apple Glasses به چشم دارید کار بسیار سختتری خواهید داشت. در اینجا با حقیقتی روبرو هستیم که هیچ روشی برای لمس فیزیکی در نظر گرفته نشده است.

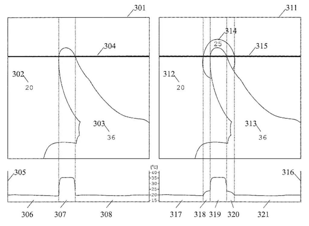
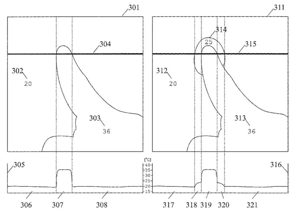
جز بهکارگیری تکنیکهای ورودی مانند دستکش یا دیگر تجهیزات چه میتوان کرد؟ این عمل، هزینه دارد و راحتی کاربر حین کار قربانی میشود. پس Apple Glasses برای تعامل مناسب با کاربر خود به روشی خلاقانه نیاز دارد. استفاده از انگشتان نیز تضمینی بر صحت عملکرد نیست. پتنت اپل اینگونه شرح میدهد که حسگر گرماسنج اینفرارد برای شناسایی تعامل کاربر با جسمی در دنیای واقعی به کار گرفته خواهد شد.
"پتنتی را میبینید که مربوط به دستگاهی جهت تشخیص لمس حداقل دو شیء است که بخشی از جسم اول دمایی متفاوت با حرارت جسم دوم دارد. در این روش یک تصویر حرارتی از بخشی از جسم است که نشاندهنده دمایی متفاوت است و با استفاده از الگوی تصمیمگیرنده تشخیص لمس بین دو چیز را بر عهده دارد."
با بهکارگیری این روش Apple Glasses میتواند کنترلی وسیع بر اشیای دنیای واقعیت داشته باشد. علاوه بر آنچه گفته شد، این امر محتمل است که عینکها حرارت منتقلشده هنگام لمس شیء را تشخیص دهند و عکسالعمل نشان دهند. این تکنولوژی به نظر در دسترس و امکانپذیر است و البته که اولین در نوع خود خواهد بود.
پروژهای شگفتانگیز که نمیدانیم آیا اپل در حال کار بر روی آن است یا خیر. ازآنجاکه با یک پتنت روبرو هستیم و اپل علاقه شدیدی به ثبت پتنت دارد جای تعجبی نخواهد بود اگر حالا حالاها این محصول را در بازار نبینیم. این محصول مجهز به فناوری خاص یکی از جذابترین تجربههای زندگی دیجیتالی خواهد بود و امیدواریم اپل درحالتوسعه آن باشد.
برچسبها:



