گوشی سرفیس Duo دوربینی در کلاس جهانی خواهد داشت
تبلیغات

شعبه آلمانی شرکت مایکروسافت در رویدادی ویژه از توسعهدهندگان و اصحاب رسانه دعوت کرد تا دیداری با مدیر ارشد بخش محصولات این شرکت، پانوس پانای، داشته باشند. همان طور که احتمالا انتظار میرفت، بسیاری از این سوالات درباره سرفیس Duo بود که البته پانای اطلاعات زیادی درباره آن منتشر نکرد، اما گفت که آنها در حال کار روی دوربینی در کلاس جهانی برای این دستگاه هستند.
پروتوتایپی که چند هفته پیش در مراسم رونمایی از محصولات جدید مایکروسافت به نمایش درآمد، فقط یک دوربین سلفی داشت. البته در قاب پشتی حفرهای دایرهای دیده میشد که احتمالا محلی برای تعبیه ماژول دوربین بود. ولی آن حفره هم فقط میتواند جایگاه یک لنز باشد.

هنوز یک سال تا زمان عرضه سرفیس Duo باقی مانده و اتفاقات زیادی ممکن است در این فاصله رخ دهد. اما فکر میکنید مایکروسافت از چه دوربینی برای تلفن هوشمند تاشوی خود استفاده خواهد کرد؟ فراموش نکنید که ضخامت صفحات جداگانه این دستگاه بسیار کم است.
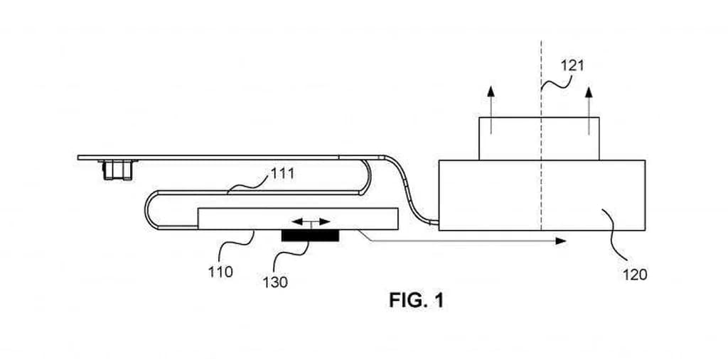
مایکروسافت پتنت جالب توجهی دارد که احتمالا بیربط به دوربین سرفیس Duo نیست. این پتنت لنز و سنسور تصویری را نشان میدهد که در زمان نیاز با یک محرک در محل موردنظر خود قرار میگیرد و بعد دوباره به جای قبلیاش برمیگردد.
با این حال باید صبر کنیم و ببینیم که این غول بزرگ دنیای فناوری چه سیستمی را برای تلفن هوشمند جدیدش در نظر خواهد گرفت.
