اپل به دنبال توسعه ساعت هوشمند با صفحه نمایش گرد
تبلیغات
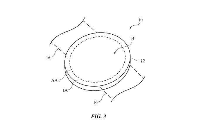
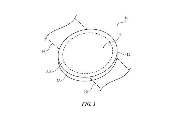
کمپانی اپل ظاهرا قصد دارد یک ساعت هوشمند تازه را با صفحه نمایش گرد توسعه دهد چراکه سه شنبه گذشته پتنت شماره 9965995 را در کشور آمریکا تحت عنوان «دستگاه الکترونیکی با صفحه نمایشی با لبههای خمیده» به ثبت رسانده است. همانطور که میدانید، ساعتهای هوشمند اپل از صفحه نمایش و بدنه مستطیل شکل بهره میبرند اما با توجه به عنوان پتنت ثبت شده اخیر پیش بینی میشود که در آینده شاهد معرفی یک ساعت هوشمند گرد با لبههای خمیده از سوی این غول تکنولوژی باشیم.

با توجه به تصاویر موجود در اسناد این پتنت به نظر میرسد که اپل پیش از ثبت رسمی آن درواقع ایده چنین ساعت هوشمندی را در سر داشته است. البته ممکن است تصور کنید که این پتنت تنها یک طراحی معمولی و غیرکاربردی را نشان میدهد اما از آنجا که تاریخ ثبت این طرح ماهها پس از عرضه اپل واچ بوده و احتمالا سالها هم پس از ثبت پتنت طراحی اپل واچ اولیه بوده است، حدس میزنیم که اپل در حال حاضر چنین ساعت هوشمند تازهای را در دست توسعه داشته باشد. کمپانی اپل احتمالا به این خاطر پتنت پیش رو را ثبت کرده است که قصد دارد در آیندهای که نمیدانیم دقیقا چه زمانی است چنین ساعت هوشمندی را با صفحه گرد معرفی کند.
در این پتنت همچنین به تکنولوژی به خصوصی اشاره شده که مشخصا برای رفع مشکلات صفحه نمایشهای گرد توسعه یافته است. برای مثال، خطوط مستطیلی پیکسلها نمیتوانند به خوبی در دستگاههای دایرهای جا شوند. در اغلب بخشهای این اسناد تازه به تصمیمات و برنامههای اپل برای رفع این مشکل اشاره شده است.
در این پتنت تازه علاوه بر ساعت هوشمند همچنین به برخی دستگاههای الکترونیکی دیگر هم ازجمله مچبند، گردنبند، هدفون و همچنین عینک هوشمند اشاره شده است. از آنجا که شایعه شده است عینک هوشمند اپل با پشتیبانی از واقعیت افزوده تا سال 2020 معرفی میشود، تکنولوژی به خصوصی که در این پتنت به آن پرداخته شده ممکن است علاوه بر اپل واچ تازه در عینک مذکور هم به کار رود. از آنجا که صحبت به عینک هوشمند اپل میرسد، باید به این نکته هم اشاره کنیم که سازنده مذکور ماه گذشته پتنت دیگری را درباره سیستم پایش حرکات چشم برای این عینک نوین که احتمالا Apple Glass نام دارد به ثبت رساند.
در ادامه میتوانید تصاویر منتشر شده از این پتنت تازه را مشاهده کنید.
برچسبها:



