سامسونگ ظاهراً برنامههای بزرگتری برای گلکسی رینگ دارد!
سامسونگ به تازگی پتنتی را ثبت کرده که نشان میدهد حلقه پوشیدنی این برند میتواند امکان انتقال اطلاعات بین دستگاههای مختلف را فراهم بیاورد.
تبلیغات
گلکسی رینگ یکی از جدیدترین محصولات سامسونگ به شمار میرود که از عرضه آن تنها چند ماه میگذرد. در حال حاضر، قابلیتهای این پوشیدنی محدود به ویژگیهای مبتنی بر سلامتی مانند پایش ضربان قلب و کیفیت خواب است.
حالا اما به نظر میرسد غول فناوری کره احتمالاً قصد دارد ویژگی جدیدی را به حلقه هوشمند خود اضافه کند که تجربه کاربری این دستگاه را بهبود میدهد.

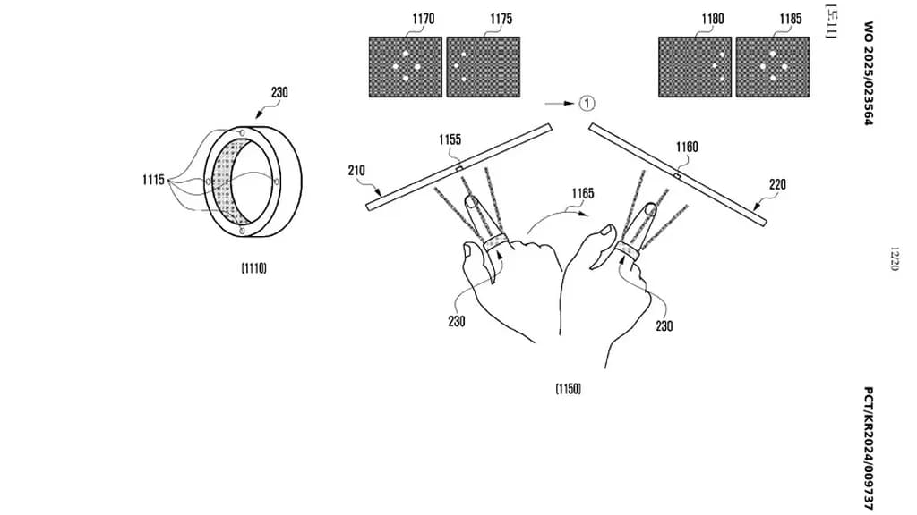
براساس پتنتی که تولیدکننده کرهای به تازگی ثبت کرده است، سامسونگ ظاهراً یک قابلیت جدید را برای گلکسی رینگ درنظر دارد که امکان کنترل و انتقال اطلاعات بین نمایشگرهای متصل از جمله گوشیهای هوشمند، لپتاپها و تبلتها را فراهم میآورد.
در پتنت لیستشده، یک محصول مشابه گلکسی رینگ را مشاهده میکنیم که به صورت بیسیم به یک لپتاپ و تبلت متصل شده است. طرح مفهومی موردنظر نشان میدهد که پوشیدنی این برند در آینده احتمالاً قادر خواهد بود اطلاعات را بین دستگاههای مختلف انتقال دهد.


برای مثال، کاربران قادر خواهند بود تنها با حرکت انگشت خود، فایلها و اپلیکیشنهای مختلف را بین نمایشگرهای متصلشده جابهجا کنند.
شایان ذکر است که این طرح مفهومی تنها پتنت مرتبط با پوشیدنی برند کرهای نیست. در پتنتی که چندی پیش برای گلکسی رینگ لیست شد، سامسونگ یک حلقه هوشمند را به نمایش گذاشت که میتواند به طور خودکار اندازه خود را با انگشت کاربر تطبیق دهد.
در حال حاضر، هنوز مشخص نیست که قابلیت اشارهشده به گلکسی رینگ اضافه میشود یا تنها در حد یک پتنت باقی خواهد ماند. با این وجود، امیدواریم سامسونگ پوشیدنی خود را با این ویژگی کاربردی همراه کند.
برچسبها:



