بازگشت قدرتمند الجی به دنیای موبایل!
LG بهطور ناگهانی از صنعت گوشیهای هوشمند کنار رفت، اما اکنون با ثبت پتنتی برای یک نمایشگر قابلتا کردن جدید به بازار موبایل بازگشته و احتمال بازگشت دستگاهی به نام LG Rollable نیز وجود دارد. این پتنتها به بهبود طراحی و عملکرد نمایشگرها اشاره دارند.
تبلیغات
به نظر میرسد LG قصد دارد بار دیگر به بازار تلفنهای همراه بازگردد، پس از اینکه این شرکت در سال 2021 بهطور ناگهانی از این صنعت کنار رفت و فعالیتهای خود را متوقف کرد. این خبر به خصوص برای دوستداران فناوری و هواداران LG جالب و هیجانانگیز به نظر میرسد، زیرا این شرکت در گذشته با ارائه محصولات نوآورانه و طراحیهای منحصر به فرد شناخته شده بود.

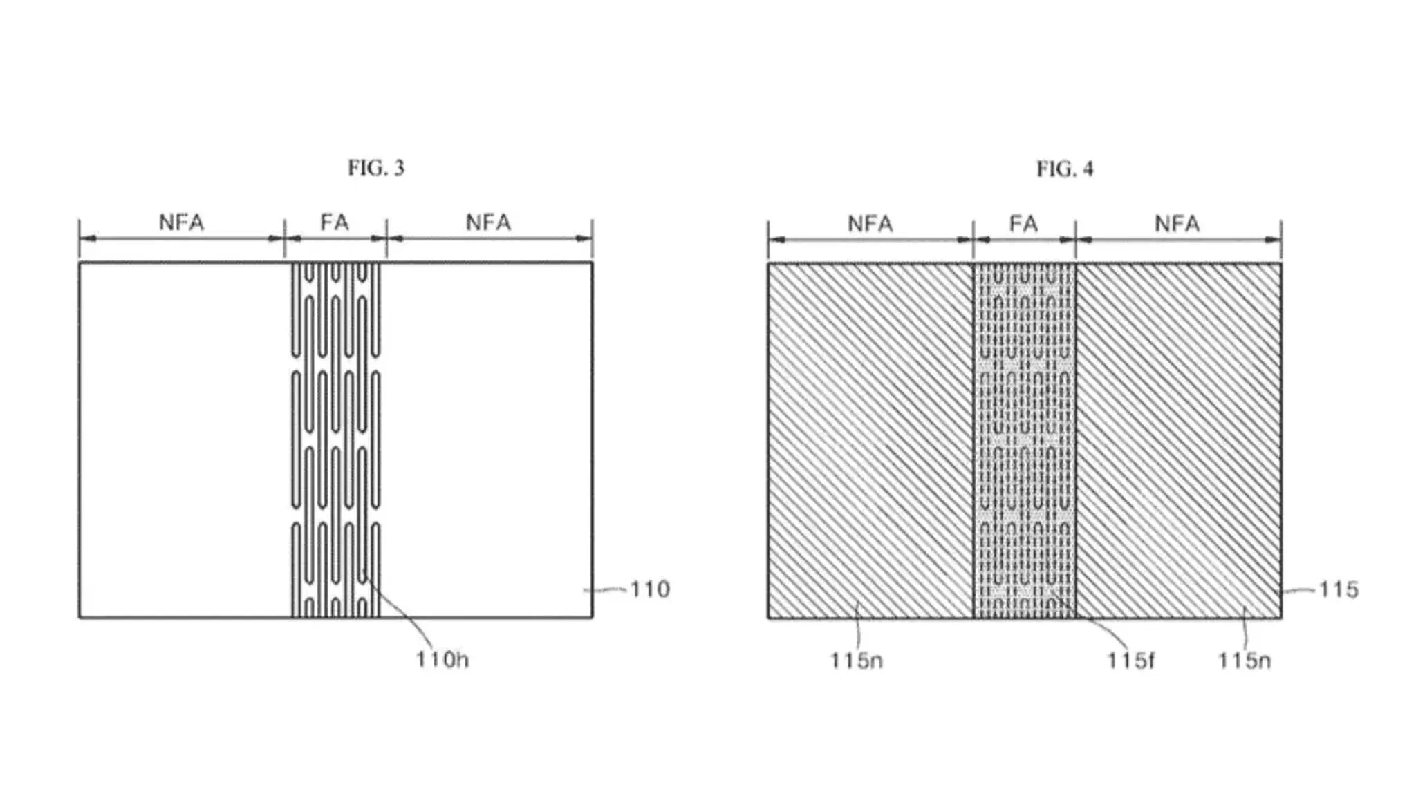
دفتر ثبت اختراعات و علائم تجاری ایالات متحده (USPTO) اخیراً مدارکی 14 صفحهای از LG را در اکتبر 2024 منتشر کرده است. گزارشها حاکی از آن است که این شرکت در ژوئن 2024 این پتنت را ثبت نموده که به ما اجازه میدهد نسبت به احتمال بازگشت آنها به بازار تلفنهای هوشمند امیدوار باشیم. این پتنت به نوعی نمایشگر قابلتا کردن جدید اشاره دارد که هدف آن بهبود مشکلات مرتبط با طراحیهای فعلی، به ویژه نمونههای موجود مانند Samsung Galaxy Flip است.
تمرکز اصلی LG بر بهبود عملکرد قسمت قابلتا کردن صفحهنمایش و افزایش دوام آن بهمنظور کاهش آسیبپذیری در طول زمان است. بررسیهای فناوری و نیازهای کاربران نشان میدهد که قابلیت حمل و استفاده راحت از یک صفحهنمایش بزرگ هنگام تماشای برنامهها، ویدیوها یا بازیهای ویدئویی از اهمیت بالایی برخوردار است. اما در عین حال، زمانی که اندازه صفحه نمایش بزرگتر میشود، قابلیت حمل آن کاهش مییابد که این مسأله چالشی برای طراحان محسوب میشود.

طبق گفتههای LG در این سند، این شرکت قصد دارد با اضافهکردن یک ساختار پشتیبانی با استحکام بالا و الگوهای باز در ناحیهی قابلتا، به این چالش پاسخ دهد. این اقدام باعث میشود تا از لایههای چسب با سطوح مختلف واکنش برای بهبود عملکرد تا شدن و کاهش نقصهای احتمالی در صفحهنمایش استفاده شود. این فناوری ممکن است به نوعی انقلابی در طراحی گوشیهای هوشمند قابلتا باشد و به کاربران امکان دهد تجربهای به مراتب بهتر و با کیفیتتر داشته باشند.
گفتنی است LG سالها پیش فعالیتهای خود را در زمینه گوشیهای هوشمند متوقف کرد تا به جای آن روی زمینههای دیگر مانند قطعات خودرو برقی، اینترنت اشیا، خانههای هوشمند، رباتیک و هوش مصنوعی تمرکز کند. اما حضور دوباره این شرکت در دنیای تلفنهای همراه میتواند به نوعی تصاویر نوینی از نوآوریهای تکنولوژیک را به طرفداران بازگرداند.
در روزهای اخیر، پتنت دیگری از LG منتشر شده که احتمال بازگشت این شرکت با یک دستگاه قابلچرخش به نام LG Rollable را نشان میدهد. این دستگاه هم سالها پیش بهنوعی کنار گذاشته شده بود و حالا خبر بازگشت آن موجب ایجاد انتظارات جدید در بازار شده است. در عین حال، لازم به ذکر است که رقیب کرهای LG یعنی سامسونگ نیز اخیراً پتنتی برای یک گوشی تماسی سهگانه ثبت کرده است که انتظار میرود در سال 2025 به بازار عرضه شود.

به این ترتیب، ورود دوباره LG به عرصه تلفنهای همراه و پتنتهای جدید این شرکت میتواند دگرگونیهای مهمی را در بازار به همراه داشته باشد و رقابت بین برندهای مختلف را به سطح جدیدی برساند.
برچسبها:



