اولین گوشی سهتکه سامسونگ میتواند کپی از هواوی Mate XT باشد
سامسونگ در تلاش است تا طراحی گوشی تاشو سهگانه هواوی Mate XT را کپی کند و پتنتی ( ثبت اختراع ) برای نخستین گوشی خود با این ویژگی ثبت کرده است. این شرکت میخواهد تا سال 2025 به عنوان بهترین تولیدکننده گوشیهای سه بار تاشو شناخته شود.
تبلیغات
سامسونگ بهطور جدی در تلاش است تا طراحی گوشی تاشو سهگانه هواوی Mate XT را به عنوان الگوی خود برای نخستین گوشی سهتکه خود کپی کند. این شرکت اخیراً پتنتی را برای یک گوشی با قابلیت تاشو سهگانه ثبت کرده است که نشاندهنده عزم جدی آن برای ورود به این بازار نوظهور است. با این حال، آنچه که توجهات را جلب میکند، شباهت قابل توجه ظاهر کلی و فرم این دستگاه با Mate XT است که به عنوان اولین گوشی سه بار تاشو در دنیا شناخته میشود. بیایید نگاهی دقیقتر به این پتنت بیندازیم و جزئیات آن را بررسی کنیم.

رقابت بین هواوی و سامسونگ برای تصاحب عنوان اولین تولیدکننده گوشی سه بار تاشو به یکی از چالشهای جذاب صنعت تکنولوژی تبدیل شده است. در تاریخ 10 سپتامبر، هواوی با معرفی Mate XT Ultimate Design پیشتاز این رقابت شد و توجه زیادی را به سمت خود جلب کرد. این گوشی با طراحی خلاقانه و فناوریهای نوین، توانسته است نظر بسیاری از کاربران و منتقدان را جلب کند.
با این حال، سامسونگ همچنان در تلاش است تا نخستین گوشی سه بار تاشو خود را تا سال 2025 روانه بازار کند. هدف این شرکت تنها اولین بودن نیست، بلکه آنها به دنبال تبدیل شدن به بهترین تولیدکننده گوشیهای سه بار تاشو در جهان هستند.

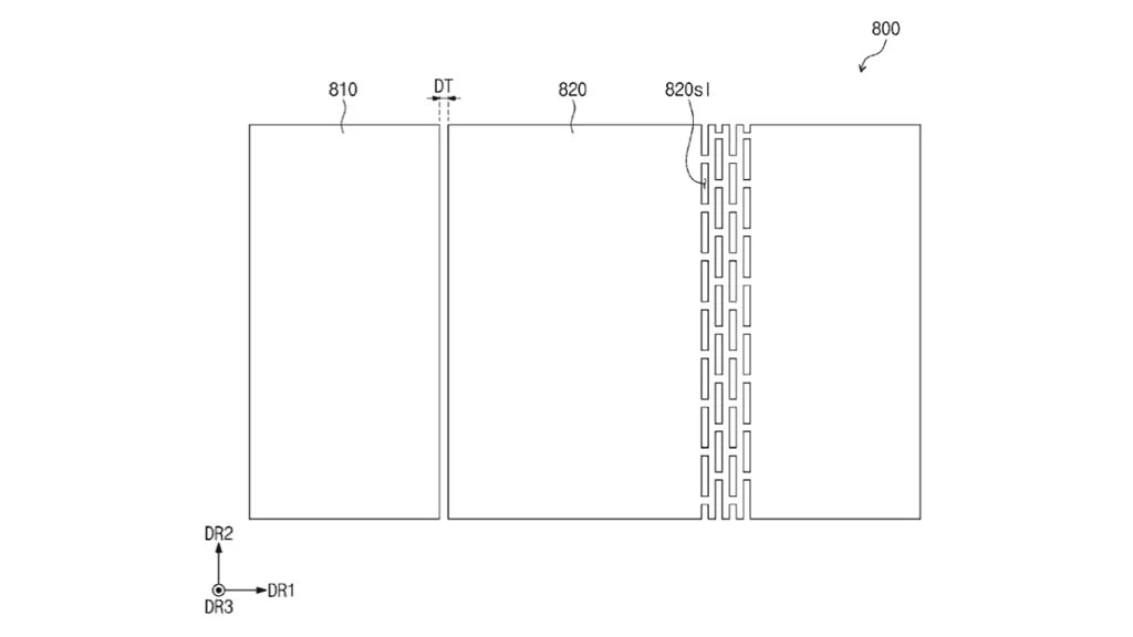
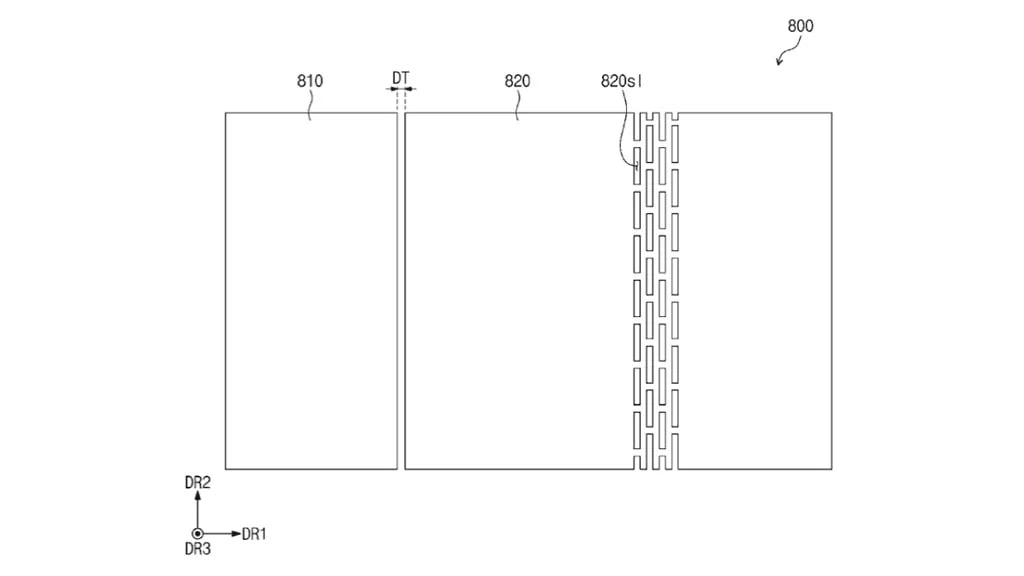
شرکت کرهای در جولای 2021 پتنتی را برای گوشی سه بار تاشو در دفتر ثبت اختراعات و علائم تجاری ایالات متحده (USPTO) ثبت کرده است. اکنون که این پتنت منتشر شده، خطوط کلی گوشی سه بار تاشو را به وضوح نشان میدهد. در این پتنت به بهبود دوام و انعطافپذیری اشاره شده که میتواند نقطه قوتی برای سامسونگ در مقابل رقبایش باشد.
یکی از نکات جالب توجه این است که طراحی کلی و فرم سامسونگ از سه بار تاشو به وضوح شباهت زیادی به Mate XT دارد و از مکانیزم تاشو Z شکل بهره میبرد. این طراحی شامل یک لایه اضافی در اطراف لبههای بازشونده دستگاه است که باعث آسانتر شدن فرایند تاشو و کاهش تنش روی صفحه نمایش میشود. سایر بخشها مانند پنلها و لایههای پشتیبانی احتمالاً از مواد استیل ضدزنگ یا شیشه ساخته خواهند شد تا دوام بیشتری داشته باشند.
علاوه بر این، پتنت همچنین اشاره میکند که سامسونگ از رزین مصنوعی و یک پنجره شفاف برای نمایشگر سه بار تاشو استفاده خواهد کرد. این ویژگی باعث میشود تا مزایای ضد انعکاس ارائه شود و ممکن است یک لایه اضافی برای محافظت از صفحه نمایش در برابر اجزای خطرناک نیز اضافه گردد. این اقدامات نشاندهنده توجه سامسونگ به جزئیات و کیفیت ساخت دستگاههای خود است.
گوشی Mate XT هواوی با مکانیزم سه بار تاشو خود، توجه زیادی را در بازار مصرفکنندگان جلب کرده است. این دستگاه از فناوری دو لولا برای ارائه بهترین انعطافپذیری و تجربه کاربری قابل اعتماد بهره میبرد. حالا به نظر میرسد که سامسونگ نیز در تلاش است تا از این موفقیت پیروی کند و با ارائه نوآوریهایی در طراحی و عملکرد، نظر کاربران را جلب کند.
پس از موفقیت هواوی، سامسونگ قصد دارد سهم خود را از بازار گوشیهای سه بار تاشو به دست آورد. به نظر میرسد که این شرکت کرهای در تلاش است تا طراحی برتر گوشی سه بار تاشو را کپی کند و با افزودن ویژگیهای جدید، تجربه کاربری بهتری ارائه دهد.
این موضوع هنوز در مرحله پتنت قرار دارد و تضمینی برای تولید مدلی مشابه در آینده نیست. اما دیدن اینکه سامسونگ چه نوآوریهایی برای رقابت با هواوی Mate XT ارائه خواهد داد، جالب خواهد بود. انتظار میرود که با پیشرفتهای فناوری و رقابتهای شدید در این زمینه، شاهد تحولات جدیدی در دنیای گوشیهای تاشو باشیم که میتواند بر آینده صنعت موبایل تأثیرگذار باشد.
برچسبها:



