بازخورد لمسی سامسونگ؛ تحولی در تعامل کاربر با گوشیهای هوشمند
سامسونگ با ثبت اختراع جدید در زمینه بازخورد لمسی، قصد دارد تجربه کاربری را بهبود بخشد و حس فشردن دکمههای واقعی را با استفاده از موتورهای لرزشی در گوشیها ایجاد کند. این فناوری میتواند تعامل کاربران با دستگاه و تجربه بازی را بهتر کند.
تبلیغات
سامسونگ به عنوان یکی از پیشتازان عرصه گوشیهای هوشمند شناخته میشود و در سالهای اخیر توانسته است تکنولوژیهای نوآورانه و جذابی را معرفی کند که تجربه کاربری را به شکل چشمگیری بهبود میبخشد. یکی از ثبت اختراع های جدید این شرکت نشاندهنده تلاشهای مستمر آن برای توسعه روشهای نوین در زمینه بازخورد لمسی در گوشیها است.

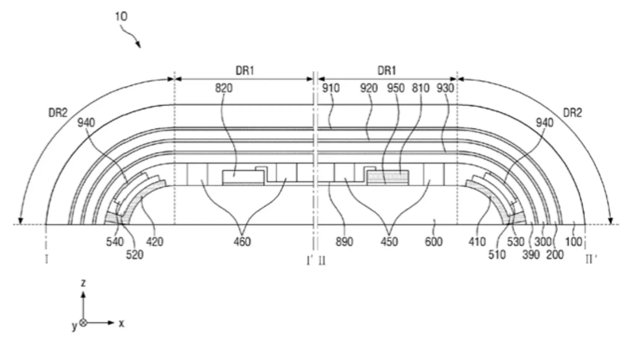
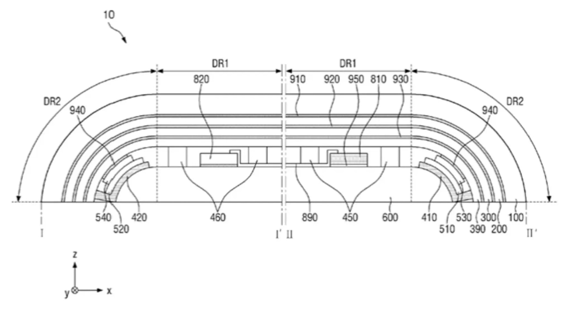
این قابلیت میتواند به طرز قابل توجهی تجربه کاربری و بازی را غنیتر کند.ثبت اختراع تازهای که توسط سامسونگ ثبت شده، به ویژگیهای دقیقتری از بازخورد لمسی اشاره دارد. فناوری مذکور از چند موتور لرزشی که در سطح گوشی تعبیه شدهاند، بهرهبرداری میکند.

با توجه به ساختاری که سامسونگ در نظر گرفته، صفحهنمایش لمسی و حسگرهای فشار بهکار رفته در دستگاه، محل دقیق لمس انگشت کاربر را شناسایی کرده و این اطلاعات به موتورهای لرزشی منتقل میشود. این موتورها به گونهای طراحی شدهاند که به کاربر بازخورد لمسی واقعیتری را در نقطهای که صفحه را لمس کرده، منتقل کنند. به این ترتیب، کاربران میتوانند حس فشردن یک دکمه فیزیکی واقعی را احساس کنند، حتی در شرایطی که از یک صفحهنمایش بزرگ استفاده میکنند.

اگر این فناوری بهطور مؤثر در گوشیهای آینده سامسونگ پیادهسازی شود، میتواند تجربه جذابتری را برای کاربران ارائه دهد. به عنوان مثال، بازخورد دقیق در زمان فشردن دکمههای سریع تنظیمات مانند روشن و خاموش کردن بلوتوث یا Wi-Fi میتواند احساس بهتری از تعامل با دستگاه ایجاد کند. همچنین این فناوری میتواند لرزش هوشمندتری را هنگامی که کاربران در بازیهای تیراندازی اول شخص (FPP) مشغول به شلیک هستند، فراهم کند و احساس واقعگرایانهتری از بازی را انتقال دهد.

لازم به ذکر است که سامسونگ پیش از این نیز از یک دکمه حساس به فشار در گوشی گلکسی S8 استفاده کرده بود. این دکمه به کاربران این امکان را میداد که حتی زمانی که گوشی در حالت خواب است، به صفحه اصلی دسترسی داشته باشند یا از هر نقطهای در نرمافزار به آن برگردند.
برچسبها:



