اپل واچهای آینده شاید به یک چراغ قوه خارجی مجهز شوند
تبلیغات
در حال حاضر اپل واچها دارای یک چراغ قوه هستند که صفحه ساعت را کاملا سفید میکند و به کاربران این امکان را میدهد تا محیط تاریک را روشن کنند. با این حال احتمال دارد اپل واچهای آینده از یک چراغ قوه مجزای خارجی بهره ببرند که بسیار کارامدتر از شکل فعلی باشد.
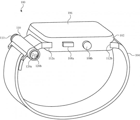
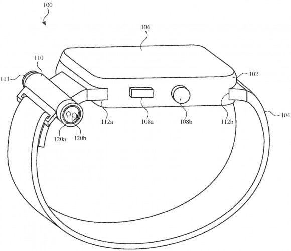
طبق پتنتی که به اپل اعطا شده، این شرکت در حال کار بر روی دستگاهی به نام «مجموعه نور ماژولار برای یک دستگاه پوشیدنی» است که برای ادغام با دستگاههای پوشیدنی طراحی شده است و میتوان آن را به صورت خارجی به محفظه ساعت هوشمند و باند آن متصل کرد.

شماتیکی که در پتنت گنجانده شده است، به ما ایده خوبی از اینکه اپل واچهای آینده با چراغ قوه خارجی متصل به باندهایشان چه شکلی خواهند بود، میدهد. این راه حل عملیتری به نظر می رسد زیرا کاربر می تواند به جای چرخاندن مچ دست خود به سمت صفحه نمایش ساعت که برد و روشنایی کمتری دارد، آن را مانند چراغ مشعل به هر کجا که می خواهد بتاباند.
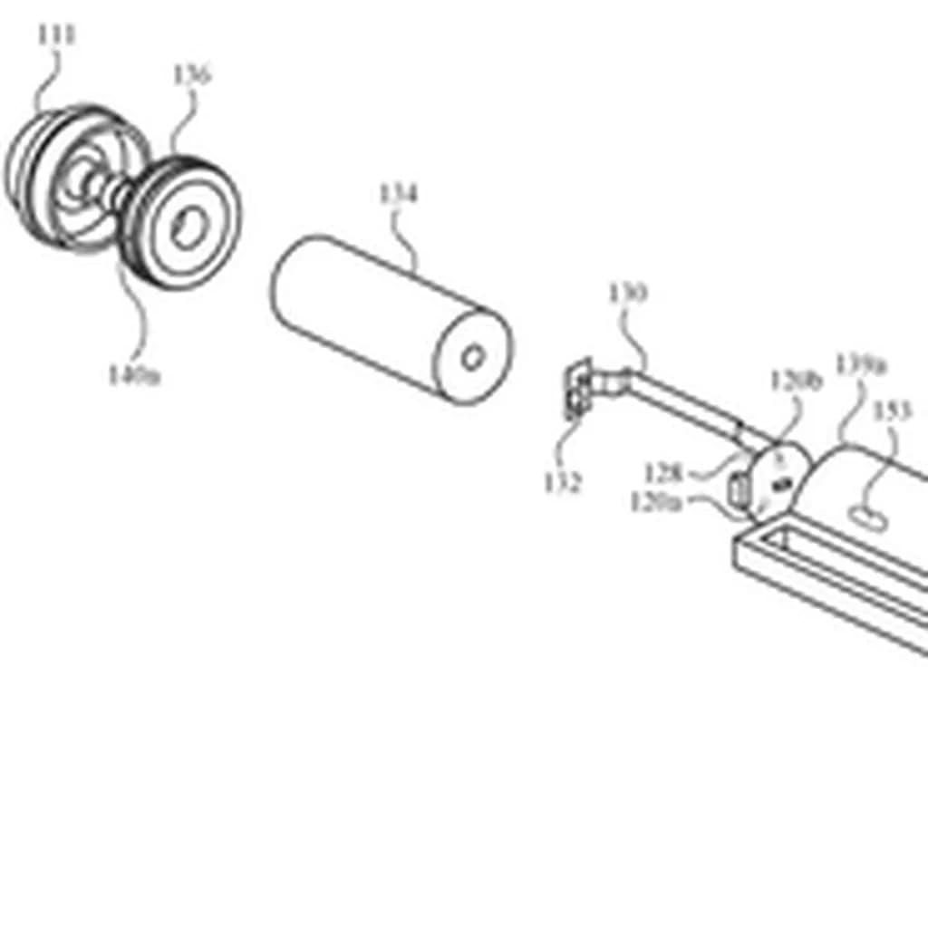
علاوه بر این، این چراغ ماژولار منبع تغذیه خود را خواهد داشت تا بر باتری اپل واچ تأثیری نگذارد. همچنین می تواند دکمهای برای روشن و خاموش کردن آن بدون تعامل با اپل واچ داشته باشد.
با این حال این حق اختراع می گوید:
نور ماژولار می تواند ارتباطی را از دستگاه پوشیدنی دریافت کند تا یک یا چند منبع نوری مجموعه نور ماژولار را فعال (روشن) یا غیرفعال (خاموش) کند، به این معنی که کاربران میتوانند آن را با اپل واچ خود نیز کنترل کنند.
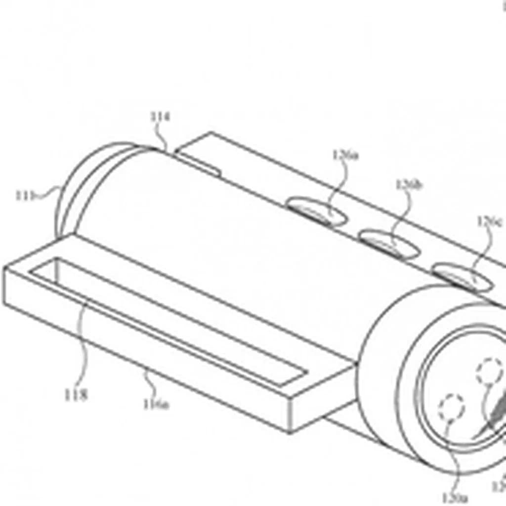
این چراغ ماژولار همچنین می تواند دارای رتبه IP باشد زیرا در حق اختراع آمده است: «مجموعه نور ماژولار که در اینجا توضیح داده شده، ممکن است دارای ویژگیهای مقاومت در برابر مایعات مانند قطعات عایق شده یا حلقههایی باشد که از ورود مایعات به اجزای حساس جلوگیری میکنند».
این پتنت همچنین نشان میدهد که نور ماژولار از بند ساعت قابل جدا شدن است، اما در برخی موارد نوار به نور دوخته شده، چسبیده یا به طور دایمی متصل میشود، به این معنی که چراغ قوه میتواند به عنوان یک لوازم جانبی جداگانه برای اپل واچ فروخته شود یا همچنین میتوانیم شاهد عرضه بندهای جدید اپل برای استفاده از این چراغ قوه خارجی باشیم.



