گلکسی زد فولد ۵ میتواند نقص بزرگ طراحی تاشوهای سامسونگ را برطرف کند
تبلیغات
گلکسی زد فولد ۴ بدون شک بهترین دستگاه تاشویی بود که در سال ۲۰۲۲ عرضه شد. زیرا این دستگاه دارای تعادلی عالی بین کیفیت ساخت، دوربین، نرمافزار و عمر باتری را ارائه میداد. اما این به آن معنا نیست که این دستگاه جای پیشرفت ندارد. سامسونگ باید یک نقص در طراحی گوشیهای تاشوی خود را برطرف کرده تا بتواند سری گلکسی زد فولد را به گوشیهای تاشو چینی که اخیرا عرضه شده نزدیکتر کند. کاری که انتظار میرود شرکت کرهای در گلکسی زد فولد ۵ انجام دهد.

به نقل از گزارشی از رسانه کرهای Naver، سامسونگ از یک لولای قطرهای در گلکسی زد فولد ۵ استفاده خواهد کرد. این به آن معنا خواهد بود که گوشی هوشمند تاشو پرچمدار بعدی سامسونگ میتواند کاملا صاف و بدون فاصله میان دو نمایشگر تا شود. علاوه بر این، میانه نمایشگر داخلی گلکسی زد فولد ۵ نیز چین کمتر داشته که کمتر قابل مشاهده است. این موضوع، چیزی بود که طرفداران گلکسی زد فولد چند سالی منتظر آن بودند.
با این حال برخلاف شرکتهای چینی، سامسونگ گواهی IPX8 مقاومت در برابر آب و گردوغبار را کنار نخواهد گذاشت. گلکسی زد فولد ۵ از نظر طراحی و تجربه نزدیک به ایدهآل خواهد بود. این دستگاه کاملا دارای طراحی کاملا صاف بوده و در برابر آب مقاوم است. تنها نقصی که اکنون در طراحی آن به چشم میخورد، عدم مقاومت گلکسی زد فولد ۵ در برابر گردوغبار است.
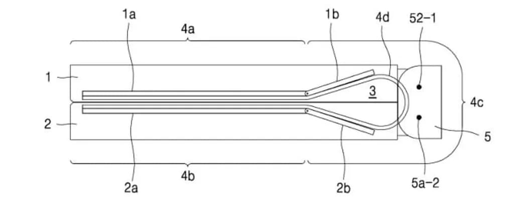
این گزارش ادامه داده که سامسونگ طراحی لولای جدید خود را «دمبل» نامیده و این طرح را در سال ۲۰۱۶ به ثبت رسانده است. با این حال، شاید این طرح تا کنون به دلیل نداشتن گواهی IPX8 ارائه نشده بود. اما اکنون به لطف این لولای دمبلی شکل سامسونگ، گزارش شده که دوام صفحه نمایش نیز بهبود یافته و میتواند طول عمر نمایشگر را در برابر تا شدن و باز شدن افزایش دهد. در ادامه، تصویری از لولای جدید سامسونگ را خواهیم دید.

طراحی لولای جدید دمبلی شکل سامسونگ که در گلکسی زد فولد ۵ به کار خواهد رفت
برچسبها:



