احتمال عرضه سری 4 اپل واچ با پایشگر فشار خون
تبلیغات
در اوایل امسال، اعلام شد که شرکت اپل در حال اعمال تغییرات عمده در ساعتهای مچی هوشمند خود است و مدلی را با این تغییرات و توجه به قابلیتهای سلامتیمحور در اواخر سال عرضه خواهد کرد. بهتازگی نیز جزئیات جدیدی بهدست آمده است که نشان میدهد نسل آینده ساعتهای مچی هوشمند اپل واچ چه قابلیتهایی را ارائه خواهد داد.
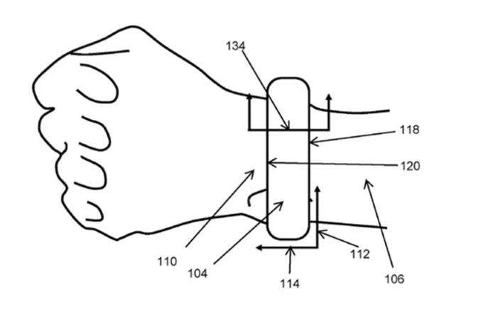
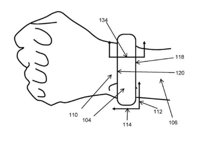
آنطور که پیداست، در سری چهارم ساعتهای مچی هوشمند شاهد پیادهسازی ویژگی برای پایش فشار خون خواهیم بود. پتنتی که این ویژگی را تشریح میکند، دو سال پیش به ثبت رسیده است و شامل تصویری شماتیک بوده که نشان میدهد سنسورهای لازم برای پایش فشار خون در بندها جای میگیرند و همین موضوع کمک خواهد کرد تا نظارت بر فشار خون کاربران در تمامی اوقات ممکن باشد؛ نتایج بهدست آمده نیز از طریق نمایشگر لمسی روی ساعت به اطلاع کاربران خواهد رسید یا این اطلاعات از طریق بلوتوث به گوشیهوشمند شما منتقل میشود.
صرفنظر از اینکه اپل واچ جدید با قابلیت پایش فشار خون عرضه شود یا خیر؛ ویژگی مذکور چندان جدید نیست و نمیتوان آنرا یک قابلیت انقلابی برشمرد. ضمن اینکه بعید است ویژگی مذکور از طریق بند مخصوص برای مدلهای پیشین عرضه شود و به احتمال زیاد، شاهد بهکارگیری فناوری مربوطه در اپل واچ جدید خواهیم بود. بدین شکل، کوپرتینوییها همچنان برگ برندهای برای فروش سری چهارم ساعتهای مچی هوشمند اپل واچ در اختیار خواهند داشت.

از جمله شایعاتی که پیرامون ساعتهای مچی هوشمند جدید اپل وجود دارد، میتوان به کنار گذاشته شدن طراحی مستطیلیشکل آنها اشاره کرد؛ آنطور که پیداست، کوپرتینوییها درنظر دارند مانند رقبای خود از یک پنل مدور برای نسل جدید ساعتمچی هوشمند اپل واچ استفاده کنند. ضمن اینکه شایعات حاکی از کاهش چشمگیر حاشیههای اطراف نمایشگر است؛ بدین شکل، فضای بیشتری در دسترس کاربران قرار میگیرد. در نسلهای قبل، اپل از نمایشگری با طراحی مستطیلیشکل استفاده کرده است که آنرا از دیگر محصولات بازار متمایز میکند؛ شرکت سامسونگ، ساعتهای مچی هوشمند Gear خود را با نمایشگر مدور ارائه میدهد و شرکت هوآوی نیز ساعتهای مچی هوشمند خود را با صفحهنمایش گرد به فروش میرساند.
با اینکه طراحی نسل جدید ساعتمچی هوشمند اپل واچ تغییر خواهد یافت اما برای اینکه کاربران رضایت داشته باشند، بندها تغییر نمییابد؛ بدین شکل، میتوانید بند محبوب خود را از نسلهای پیشین ساعتمچی هوشمند اپل واچ به مدل جدید متصل کنید.
شرکت اپل، در حالحاضر هیچ بیانیه رسمی پیرامون آینده ساعتهای مچی هوشمند خود ارائه نداده است اما بعید نیست که اپل واچ (سری 4) به همراه آیفونهای جدید این شرکت در اواسط ماه سپتامبر معرفی شود. شایعه شده است که کوپرتینوییها در سال 2018 از سه مدل آیفون رونمایی خواهند کرد که براساس اطلاعات بهدست آمده، یک مدل به نمایشگر LCD مجهز خواهد بود و مدل دیگر با پنل OLED به بازار عرضه خواهند شد؛ صرفنظر از نمایشگر آیفونهای جدید، تمامی مدلها به سیستم تشخیص چهره Face ID مجهز خواهند بود و احتمالاً از شارژ بیسیم پشتیبانی میکنند.
اپل واچ جدید، جدا از مدلهایی که توسط سامسونگ و هوآوی به فروش میرسند؛ رقیب قدرتمند دیگری نیز خواهند داشت. شایعه شده است که در اواخر امسال، گوگل از اولین ساعتمچی هوشمند خود با برند Pixel و سیستمعامل Wear OS رونمایی خواهد کرد.
برچسبها:



