ثبت پتنتی برای جلوگیری از صدمه زیاد هنگام سقوط آیفون
تبلیغات
در دنیای امروز شرکتهایی که در حوزه فناوری کار میکنند، برای جلوگیری از تقلید دیگر شرکتها از نوآوریهای بهکاررفته در محصولاتشان، حق اختراع خود را ثبت میکنند تا ایده در انحصار خودشان بماند و بعد از چند سال بتوانند به شرکتهای دیگری بفروشند؛ درست مانند وقتی که با ظهور اندروید شاهد برخی تقلیدها از iOS بودیم یا تقلیدهای سختافزاری شرکتهایی نظیر سامسونگ از اپل که باعث شد در دادگاه جریمه شود و مبلغ هنگفتی به اپل بپردازد و مثالهایی از این قبیل.
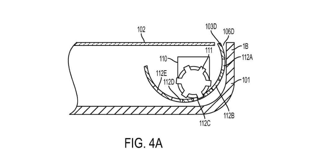
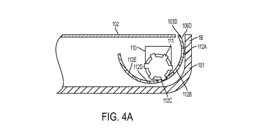
اخبار مربوط به آیفون نسل بعدی هر سال را میتوان از طریق عکسهای لورفته، بنچمارکها و حق اختراعات اپل پیشبینی کرد. امسال اپل پتنتی ثبت کرده که در توضیحات آن آمده زمانی که آیفون از دست یا بهطور مثال از روی میز در حال سقوط روی زمین است، موتور لرزشی موجود در دستگاه شوک نگهانی شدیدی ایجاد میکند تا ضربه هرچه کمتر باعث آسیب آیفون شود. به زبانی دیگر، این موتور فشار وارده را پخش میکند و با لرزش شدید خود در آن هنگام تاثیر معکوسی ایجاد میکند. این قابلیت باعث میشود به لایههای صفحه نمایشگر هم ضربه کمتری وارد شود، که گویا تاثیر زیادی دارد. به همین دلیل هم اپل نام این پتنت را Active Screen Protection گذاشته است. باید منتظر ماند و دید اپل دیگر چه نقشههایی در سر دارد.




منبع: iClarified
برچسبها:



