اپل تکنولوژی جدیدی در کابل لایتنینگ آیفون ۶ بکار میبرد
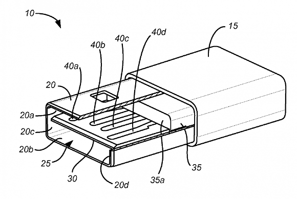
جی اس ام: حتما برای شما هم پیش آمده که سعی در وارد کردن کابل یو اس بی درون پورت آن کنید اما به علت برعکس بودن سمت آن، وارد نشود. حتی ممکن است پورت یو اس بی شما به این دلیل آسیب دیده باشد. تقریبا بدون توجه به پشت و روی پورت یو اس بی نمیتوان راحت آن را سر جای خود قرار داد اما اپل سعی دارد این مشکل را در پورت لایتنینگ که همراه با آیفون جدید عرضه میشود حل کند.
۲۵ مرداد ۱۳۹۳
تبلیغات
جی اس ام: حتما برای شما هم پیش آمده که سعی در وارد کردن کابل یو اس بی درون پورت آن کنید اما به علت برعکس بودن سمت آن، وارد نشود. حتی ممکن است پورت یو اس بی شما به این دلیل آسیب دیده باشد. تقریبا بدون توجه به پشت و روی پورت یو اس بی نمیتوان راحت آن را سر جای خود قرار داد اما اپل سعی دارد این مشکل را در پورت لایتنینگ که همراه با آیفون جدید عرضه میشود حل کند.
پورت لایتنینگ که اولین بار در آیفون 5 معرفی شد با دو طرفه بودن در قسمت سر کوچکتر خود این امکان را به کاربر میدهد که بدون توجه به پشت و رو بودن، آن را در پورت روی آیفون فرو کند؛ اما حالا اپل قصد دارد این قابلیت را در سر بزرگتر پورت لایتنینگ نیز پیاده سازی کند.
عکسهایی که سایت چینی Dianxinshouji.com.ca از تولید این کابلها در کمپانی Foxconn منتشر کرده است نشان میدهد که سر بزرگتر کابل یو اس بی همراه با آیفون جدید به گونهای طراحی شده که میتوان آن را بدون توجه به پشت و رو بودن داخل پورت یو اس بی وارد کرد. استفاده از این تکنولوژی در تولید کابلهای یو اس بی در آینده قطعا میتواند تحول بزرگی در این کابلها بشمار آید.






