اپل و آیفون با صفحه نمایش خمیده
تبلیغات
به نظر میآید بازار صفحات نمایش خمیده در حال داغ شدن است و شاید مانند امسال که شاهد حضور صفحات نمایش فول اچ دی در موبایلها بودیم، یک یا دو سال دیگر شاهد حضور گوشهایی با صفحه نمایش خمیده باشیم.
به گزارش امروز خبرهایی رسیده که اپل به دنبال ثبت یک پتنت برای آیفون است که با این پتنت میتواند آیفونی با صفحه نمایش خمیده بسازد که در اینجا صفحه نمایش به دور گوشی پیچیده شده و تمام دکمههای فیزیکی حذف خواهند شد.
درخواست ثبت این پتنت نشان میدهد که اپل به دنبال ساخت نسل جدیدی از صفحات نمایش است که لازم نیست مانند صفحه نمایشهای کریستال مایع امروزی تخت و سفت و سخت باشند. اگر به خاطر داشته باشید سامسونگ نیز در نمایشگاه CES صفحه نمایشهای خمیده خود را که نیاز به دیدن بقیه صفحه نمایش را از بین میبرد معرفی کرد.

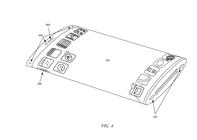
همانطور که در شکل مشاهده میکنید این پتنت که اپل به دنبال ثبت آن است باعث میشود آیفون شبیه یک لوله استوانهای شکل بشود که در اطراف این لوله صفحه نمایش و در داخل آن نیز باتری و بورد و چیپ ست قرار دارند، بنابراین آیفون در اینجا تنها در یک سمت، صفحه نمایش نخواهد داشت و از تمام اطراف این لوله استوانهای میتوان به عنوان صفحه نمایش استفاده کرد.
اپل برای ثبت این اختراع از سپتامبر 2011 (شهریور 1390) اقدام کرده است و مانند دیگر کمپانیها به طور قطع به یقین طرحهای نهایی که قصد تولید آنها را خواهد داشت را برای این ثبت اختراع رو نکرده است. همچنین اپل هنوز در این مورد هیچ اظهار نظری نکرده است.
شما چه فکر میکنید، آینده صفحه نمایشهای خمیده در دست کدام کمپانی خواهد بود؟
منبع: Associated Press



