سنسور اثر انگشت گلکسی S8 در دل نمایشگر است
تبلیغات
جنبش کاهش حاشیه گوشیها را الجی با پرچمدارش، جی2، آغاز کرد اما دیگر پس از آن علاقهای به پیگیری این سیاست نداشت. حالا سونی را باید وارث این تکنولوژی دانست زیرا طراحی ایکسپریا XA و گوشیهای سری X خیرهکننده است. علاوه بر این ترند دیگر دنیای گوشیها حذف حسگر فیزیکی اثر انگشت و تعبیه آن در دل نمایشگر است که اکنون توسط سامسونگ، اپل و مایکروسافت به صورت جدی دنبال میشود. ظاهرا پرچمدار بعدی سامسونگ، گلکسی اس8، قرار است هردو این تکنولوژیها را به ارث ببرد. برای آگاهی از جزئیات بیشتر گلکسی اس8 با جیاسام همراه باشید.

به جرات میتوان گفت که اکثر کاربران از دکمههای فیزیکی حسگر اثر انگشت خسته شدهاند. این دکمه میتواند طراحی گوشی را با مشکل مواجه کند؛ به عنوان مثال اپل نمیتواند حاشیه گوشیهایش را کاهش دهد زیرا دکمه هوم فضای پایین گوشی را اشغال کرده و شاید تنها راه حلی، که چندان هم خوشایند نیست، نقل مکان دکمه از پنل جلو به پشت گوشی باشد. گوشیهای هواوی اکثرا این سنسور را روی پنل پشتی حمل میکنند که باز هم مشکلات مربوط به خود را دارد.

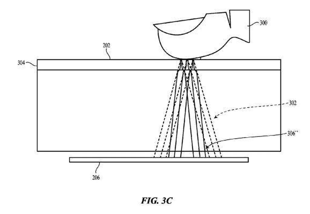
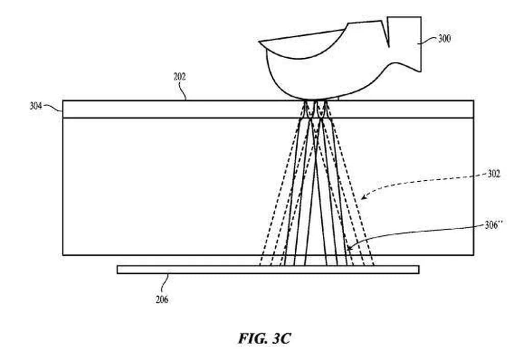
اگر خاطرتان باشد اپل و مایکروسافت قبلا هرکدام پتنتهایی درباره حذف حسگر فیزیکی تشخیص اثر انگشت و جا دادن آن در نمایشگر ثبت کردهاند که هنوز خروجی واقعی نداشته است. ظاهرا سامسونگ در پرچمدار آیندهاش به جای سنسورهای معمولی از یک سنسور تشخیص اثر انگشت اپتیکال استفاده میکند. یکی از ویژگیهای مهم سنسورهای اپتیکالی این است که از زیر لایه شیشهای نمایشگر نیز قادر به تشخیص اثر انگشت کاربر هستند که این موضوع میتواند رویای حذف دکمههای فیزیکی را تحقق بخشد. از جمله دیگر خاصیتهایشان میتوان به سرعت فوقالعاده بالا و دقت کمنظیر اشاره کرد.

شایعه دیگری که درباره اس8 منتشر شده درباره کاهش حاشیههای فلزی نمایشگر است. اگر روز گذشته اخبار را دنبال کرده باشید احتمالا با گوشی رویایی شیائومی Mi Mix آشنایی دارید. این گوشی حاشیههای بسیار کمی در اطراف نمایشگر دارد تا جایی که با نمایشگر 6.4 اینچیاش ارتفاعی 158 میلیمتری یعنی هماندازه با آیفون 7پلاس 5.5 اینچی دارد! طبق شایعاتی که اخیرا منتشر شده سامسونگ نیز به دنبال خلق گجتی تمام صفحه و بدون حاشیههای مزاحم است. شاید تا چند ماه پیش دستیابی به این آرزو کاملا غیرممکن به نظر میرسید اما حالا که شیائومی توانسته چرا سامسونگ نتواند؟

به خاطر داشته باشید که حتی اگر سامسونگ نخواهد یا نتواند حاشیههای اطراف گوشی را حذف کند هنوز هم جای امیدواری برای حضور یک سنسور تشخیص اثر انگشت درون نمایشگر وجود دارد. البته کارشناسان معتقدند که اکنون یافتن ایراد فنی گلکسی نوت 7 و برطرف کردن آن در گوشیهای بعدی باید برای سامسونگ در اولویت باشد زیرا اگر کاربران از سلامت پرچمدار بعدی این کمپانی اطمینان خاطر نداشته باشند قطعا پروژه گلکسی اس8 شکست میخورد.
نظر شما درباره این شایعات چیست؟ آیا این بلندپروازیها هم مانند کانسپتهای آیفونها پیش از معرفی هستند که امکانات فضایی دارند اما هنگام رونمایی رسمی هیچ اثری از آنها نیست؟ آیا شما هم با حذف دکمه فیزیکی سنسور اثر انگشت موافق هستید؟ به نظر شما گوشیهای بدون حاشیه آینده اسمارتفونها هستند؟



