8 پروژه عجیب و اسرار آمیز گوگل
تبلیغات
جی اس ام: گوگل کمپانیای است که هیچ نیازی به معرفی آن نیست، این کمپانی به خوبی جای خود را در زندگی ما باز کرده است، شاید امروز بدون گوگل خیلی از کارهای روزمره خود را نتوانیم انجام دهیم.
شاید شما هم بدانید که گوگل تنها در زمینه موبایل فعالیت نمیکند، و یا اینکه تنها در زمینه جستجوی اینترنت نیست که خوب کار میکند. گوگل بر روی صدها پروژه مختلف کار میکند که هدف نهایی بسیاری از آنها مشخص نیست.
در این مقاله 8 پروژه گوگل را به شما معرفی خواهم کرد که هدف آنها را نمیدانیم و هدف آنها مانند یک راز باقی مانده است، شاید ما گوگل را دوست داشته باشیم اما به طور حتم دوست نداریم توسط این کمپانی کنترل شویم درست است؟

8 - مراکز آموزش سلامت
این مرکز بر روی خلیج سانفرانسیسکو ساخته شده است.

7 – تاتوی الکترونیکی بر روی پوست
این تاتو به گوشی موبایل متصل خواهد شد و به احتمال قوی دیتاهایی را از بدن شما به گوشی منتقل خواهد کرد.

6 – سیستم ردیابی نگاه کاربر
این سیستم که گوگل در آن سرمایه گذاری کرده به سازندگان آگهیهای تجاری این امکان را میدهد که با استفاده از دیتاهایی که این دستگاه برای آنها ارسال میکند متوجه شوند کاربر به کدام قسمت از آگهی آنها توجه بیشتری میکند و کدام آگهی به کار آنها خواهد آمد.
5 – خرید توربینهای بادی
گوگل تا کنون 114 مگاوات توربین بادی در آیوا خریداری کرده است، بسیار خوب شاید این خرید برای کمپانیای مانند گوگل چندان عجیب نباشد اما عجیب این است که گوگل در این منطقه هیچ مرکز خدماتی ندارد!

4 – رباتی شبیه شما
گوگل رباتی را برنامه ریزی میکند که توانایی پاسخ به دوستان شما را در شبکههای اجتماعی دارد، این ربات با توجه به پستهای قدیمی شما و توییتهایی که کردهاید یک پاسخ مناسب برای دوستان شما پیدا کرده و مانند شما فکر میکند.

3 – پتنت نشان دهنده قلب
خبر بد این است که گوگل پتنت نشانه قلب را خریداری کرده است و احتمالا از این پتنت در گوگل گلس استفاده خواهد کرد، پس اگر بخواهید شکل قلب را با دست به کسی نشان دهید باید از گوگل اجازه بگیرید!

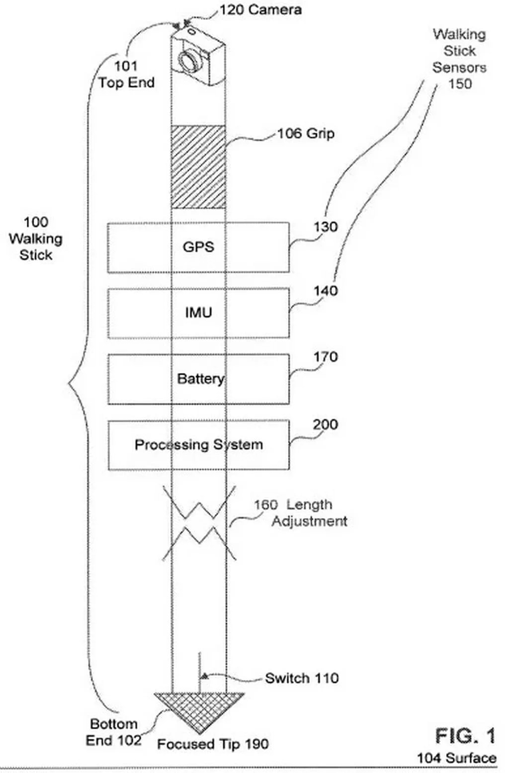
2 – عصا مجهز به دوربین
حتی نمیتوانیم تصور کنیم که گوگل چرا باید در این زمینه وارد شده و در آن سرمایه گذاری کند.

1 – پروژه ماه X
گوگل 30 میلیون دلار به هر کسی که بتواند یک روبات را به ماه ارسال کند جایزه خواهد داد، البته این ربات باید بتواند 500 متر بر روی ماه راه برود و عکس و ویدیو به زمین ارسال کند. هنوز نمیدانیم گوگل چه هدفی را دنبال میکند.




