با دکمه هوم آیفون خداحافظی کنید
تبلیغات

سالانه دو یا در نهایت سه آیفون معرفی میشود اما شایعهسازیشان با صدها گوشی اندرویدی که در همین برهه تولید میشوند، برابری میکند. همه با دکمه هوم آیفون آشنایی دارید؛ دکمهای که در کنار سیب گاززده اپل به نماد کوپرتینوییها تبدیل شده است. در حالی که هوم کاربردهای زیادی دارد، تکنولوژی همیشه به سمت کوچککردن دستگاهها پیش رفته است و حالا دیگر دکمه هوم باید جای خود را به تکنولوژی مفیدتری بدهد. اپل برای حذف این دکمه یک پتنت ثبت کرده است که در ادامه آن را بررسی میکنیم. با جیاسام همراه باشید.

همانطور که میدانید امروزه اسمارتفونها به سمت بیدکمهشدن پیش میروند اما ابتدا باید برای حذف سنسور اثر انگشت یا ترکیب آن با نمایشگر چارهای اندیشید. در این راه قدمهای بزرگی برداشته شده است که مهمترین آنها ابداعات مایکروسافت و کوالکام بودهاند. مثل همیشه اپل میخواهد برتری خود را ثابت کند و علاقهای به استفاده از تکنولوژی رقبا ندارد بلکه به دنبال ساخت این فناوری از پایه است.
.jpg&w=1920&q=75)
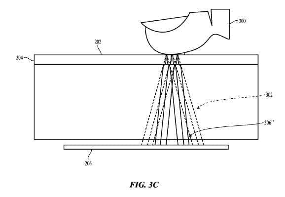
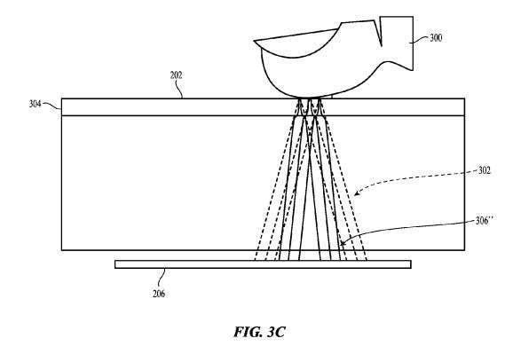
طبق پتنتی که USPTO از اپل افشا کرده ظاهرا کوپرتینوییها فکر همه جای کار را کردهاند. در این روش سنسور تشخیص اثر انگشت که در دل نمایشگر جای گرفته الگوی اثر انگشت را به وسیله لمس خازنی درک میکند. علاوه بر این لنزهای الکترواستاتیک متعددی در نقاط مختلف نمایشگر جای گرفتهاند تا به درک هرچه دقیقتر الگوی اثر انگشت کاربر کمک کنند. شایعات حاکی از آن است که آیفون بعدی از نمایشگر اولد لبه تا لبه بهره میبرد و فاقد سنسور تاچآیدی است.

نظر شما درباره این موضوع چیست؟ آیا با حذف دکمه هوم موافقید؟ آیا اپل موفق به انجام چنین کاری میشود؟
برچسبها: