مایکروسافت سنسور اثر انگشت را درون نمایشگر سرفسفون جای میدهد
تبلیغات

مایکروسافت که به عنوان غول نرمافزاری دنیا شناخته میشود در ساخت و فروش گوشیهایش هیچوقت موفق نبوده است. سری لومیا پیش از توقف تولید توانست درصد بسیار کمی از بازار را به خود اختصاص دهد اما هر کاربر منطقی میداند که ویندوزفون در مقابل آیاواس و اندروید حرفی برای گفتن نداشت. چندی پیش مایکروسافت اعلام کرد که دیگر سری لومیا تولید نمیشود و گوشیهایی با عنوان سرفسفون جایگزین آن میشوند. این کمپانی با استفاده از ترفندهایی مثل قرار دادن سنسور تشخیص اثر انگشت در نمایشگر میخواهد نظر کاربران را به گوشیهایش جلب کند.

همانطور که میدانید سنسور تشخیص اثر انگشت همچنان یکی از محبوبترین روشهای بازکردن قفل گوشی در پرچمداران است. البته دکمه فیزیکیاش میتواند اندکی آزاردهنده باشد زیرا هرجای گوشی که قرار بگیرد مشکلات خاص خود را به همراه دارد. بعضی کمپانیها آن را پشت دستگاه زیر لنز دوربین قرار میدهند و عدهای زیر نمایشگر یا حتی روی لبه کناری میگذارند اما هیچکدام حالت ایدهآل نیستند. شاید بهترین حالت تعبیه یک سنسور تشخیص اثر انگشت در نمایشگر گوشی است مانند کاری که مایکروسافت میخواهد انجام دهد.

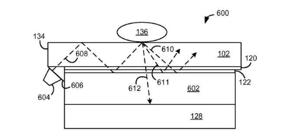
طبق پتنتی که اخیرا مایکروسافت ثبت کرده است سنسوری در نمایشگرهای LCD و OLED تعبیه میشود که درست زیر شیشه نمایشگر قرار میگیرد. البته به یاد داشته باشید که پتنتها همیشه هم به دنیای واقعی راه پیدا نمییابند؛ کمپانیهای بزرگ هر ایدهای را به عنوان یک پتنت ثبت میکنند تا در صورتی که برند دیگری بخواهد از آن استفاده کند مجبور به پرداخت حق پتنت به کمپانی صاحب ایده باشد.
.jpg&w=1920&q=75)
چند روز در میان یک خبر یا شایعه درباره سرفسفون منتشر میشود که نوید یک پردازنده فوقالعاده قدرتمند با فضای رم شگفتانگیز میدهد اما همچنان هیچ اقدامی از سوی مایکروسافت مشاهده نشده است. جالب است بدانید که عدهای معتقدند این پروژه به طور کلی متوقف شده است و در حقیقت مایکروسافت دیگر قصد ندارد وارد بازار گوشیهای هوشمند شود.
.jpg&w=1920&q=75)
نظر شما در این باره چیست؟ آیا در صورت معرفی سرفسفون آن را در سبد خرید خود قرار میدهید؟ به نظر شما نقص کار مایکروسافت چیست که نمیتواند در زمینه گوشیهای هوشمند موفق شود؟
برچسبها: